-
Standard Fasteners
-
Application-Specific Fasteners
-
Non-Standard Custom Fasteners
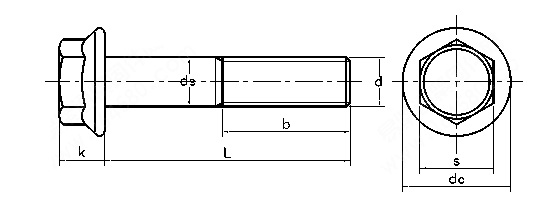
Hexagonal head flange bolts DIN 6921-1983
Dimensions: M8-M16
Standard Designation: DIN 6921-1983
Material Grade: 304 Stainless Steel
Head Style: External hexagon
DIN 6921-1983
Hexagonal flange bolts are fasteners composed of a hexagonal head, a flange, and a screw. The heads of ordinary bolts are very thick and difficult to deform. If vibration occurs after installation, they need to be retightened. The flange has a thin part that can be slightly deformed, which can lock it more firmly. Another thing is that when it comes to putting ordinary bolts into the hole, it is impossible to use tools. The head of the flange bolt is smaller, and the flange below also plays a tightening role, but it can be put into the hole with special tools. It is roughly the same principle as the hexagon socket bolt. Another way is to use a flat washer on the top of the flange, which is safer on softer, less wear-resistant materials and will not cause perforation.
Related Product Recommendations




Bolts
Nuts
Screws
Studs
Washers
Press-in Riveting Fasteners
Riveting Technology
Threaded Inserts
PT Threaded Fasteners
CNC Lathe Parts






