外六角法兰面螺栓不锈钢法兰螺栓GB/T 16674.2-2016
规格尺寸:M8-M16
标准号:GB/T 16674.2-2016
材质 :304不锈钢
头型:外六角
GB/T 16674.2-2016
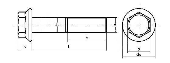
法兰螺栓由六角头和法兰盘(六角下面的垫片和六角固定一体的)和螺杆(带有外螺纹的圆柱体)两部分组成的一体的螺栓,需与螺母配合,用于紧固连接两个通孔的零件。法兰螺栓由六角头和法兰盘组成,其“支撑面积与应力面积字比值”要大于普通螺栓,故这种螺栓能承受更高的预紧力,防松性能也较好,因而被广泛用于汽车发动机、重型机械等产品上。
相关产品推荐




【螺栓】系列
【螺母】系列
【螺钉】系列
【螺柱】系列
【垫圈】系列




压铆紧固件
铆钉技术
螺纹嵌件
PT牙纹紧固件
CNC车床件






